- Albert Motorsport
- MOTOR:
- 0 Likes
- 7412 Ansichten
- 0 Kommentare
- Porsche, Neuer 6 Takt Motor, Verbrenner, Verbrennermotor, Neuer Porsche motor

Porsches neue Patentanmeldung sorgt für Aufsehen:
In der Automobilwelt ist der Zweitaktmotor schon seit vielen Jahren Geschichte. Der Viertaktmotor gilt als Standard und ist seit Jahrzehnten der Maßstab in der Automobil-Massenproduktion.
Aktuell laufen mehrere Patentanmeldungen, in denen Porsche Pläne für einen Sechstaktmotor beim Patentamt eingereicht hat.
Im Gegensatz zu den weit verbreiteten Viertaktmotoren wird der neue Porsche-Sechstaktmotor durch zwei zusätzliche Takte erweitert: ein weiterer Verdichtungs- und ein weiterer Arbeitstakt.
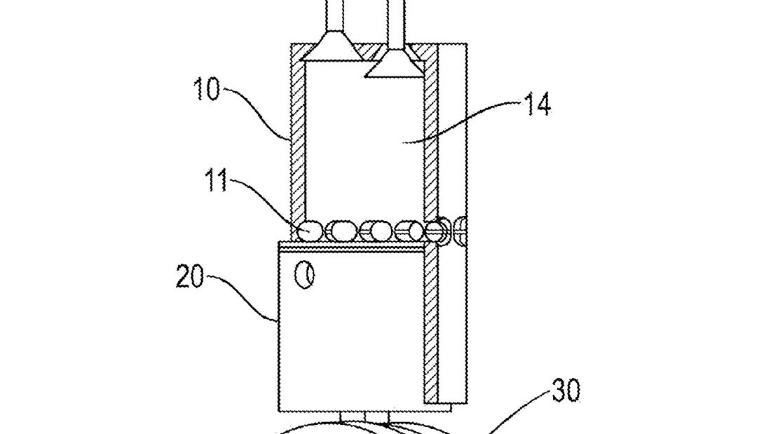
Der neue Sechstaktmotor basiert auf sechs Takten, die jeweils in zwei Dreitaktsequenzen unterteilt werden können.
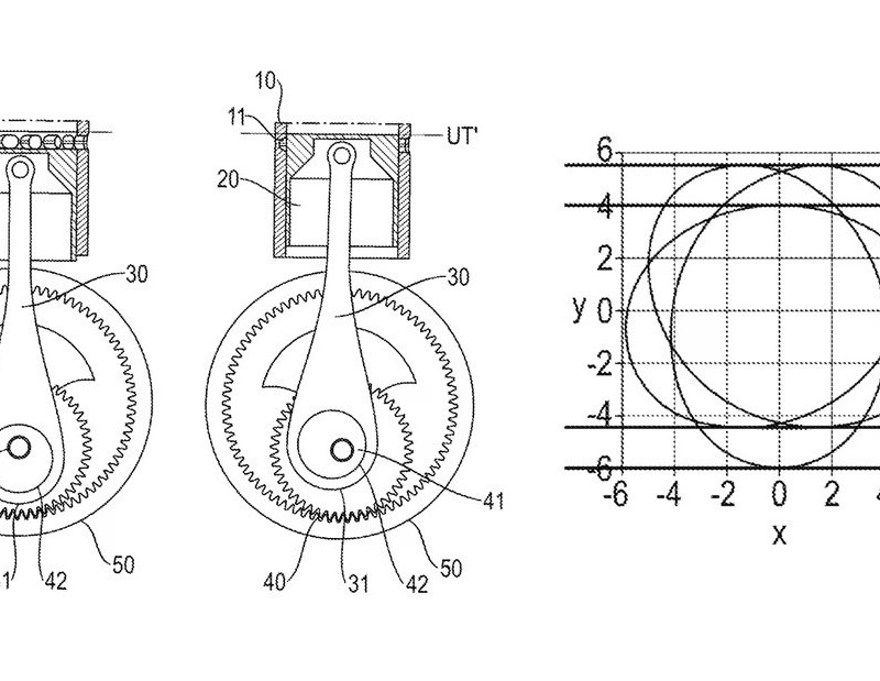
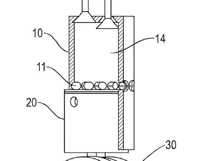
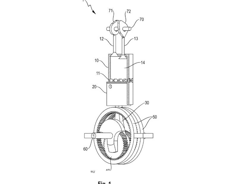
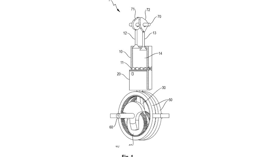
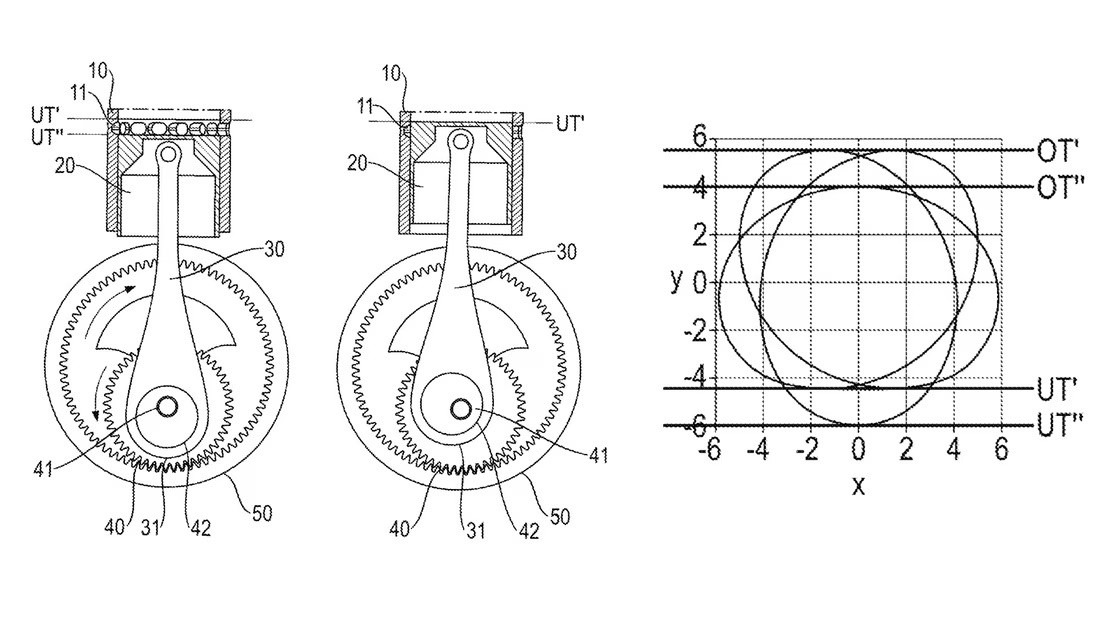
In der 81-seitigen Beschreibung des neuen Motors kommt eine neuartige Kurbelwelle zum Einsatz, die um zwei konzentrische Kreise rotiert. Die bisherigen Arbeitstakte, die von Otto entwickelt wurden — Ansaugen, Verdichten, Arbeiten und Ausstoßen — werden dadurch grundlegend verändert.
Technisch gesehen funktioniert der Porsche 6-Takter wie folgt:
Bei den Motorumdrehungen werden beim Sechstaktmotor zwei Zyklen mit jeweils drei Takten mechanisch miteinander verbunden. Dies geschieht durch das Verdrehen der Kurbelwelle über ein modifiziertes Planetengetriebe. Dieses Planetengetriebe verändert die relative Länge des Pleuels, an dem der Kolben befestigt ist.
Durch diese Veränderung der Pleuel-Länge entstehen zwei obere und zwei untere Totpunkte (OT', OT", UT', UT"), die als Umkehrpunkte des Kolbens fungieren.
Porsche beschreibt die sechs Takte wie folgt:
- Ansaugen (180 Grad)
- Komprimieren (360 Grad)
- Leistung (540 Grad)
- Komprimieren (720 Grad)
- Leistung (900 Grad)
- Ausstoßen (1.080 Grad)
Analog zum normalen Viertaktmotor fügt der neue Porsche-Sechstaktmotor zwei zusätzliche Takte hinzu: „Komprimieren“ bei 720 Grad und „Leistung“ bei 900 Grad. Dabei kommt der zweite untere Totpunkt (UT") ins Spiel.
Das Ergebnis: Anstatt bei jedem vierten Takt Energie zu erzeugen, liefert diese neue Konstruktion bei jedem dritten Takt „frische“ Energie, was zu mehr Leistung führt.
Dieses neue Motorenkonzept verspricht eine deutlich effizientere Nutzung des Luft-Kraftstoff-Gemisches und mehr Leistung. Es bleibt jedoch abzuwarten, ob die komplexen mechanischen Komponenten des Motors in der Serienfertigung solide umgesetzt werden können, da hier die Herausforderung in Bezug auf Produktionskosten und Zuverlässigkeit liegt.
Es ist jedoch wichtig zu betonen, dass eine Patentanmeldung nicht zwangsläufig bedeutet, dass der Sechstaktmotor auch tatsächlich in Serie gebaut wird. Die politischen Rahmenbedingungen in Deutschland setzen derzeit stark auf Elektromobilität.
Nichtsdestotrotz muss eines klar sein: Den seit Milliarden von Fahrzeugen verbauten Verbrennungsmotor zu verwerfen, wie es derzeit in unserer politisch desolaten Gesellschaft geschieht, wäre angesichts einer solch hoch innovativen Entwicklung meiner Meinung nach verfrüht.
Es bleibt zu hoffen, dass sich die Porsche-Ingenieure gegen die ideologischen Kräfte der Grünen durchsetzen können und Innovation wieder Vorrang vor Ideologie hat. Nur dann wird es auch wieder mit dem Standort Deutschland klappen.
In diesem Sinne: „Wir bleiben am Ball!“
Text: Jürgen Albert
Zeichnungen: Porsche





Kommentare (0)